

全国免费客服电话 0317-7777829 邮箱995831774@qq.com
手机13303377029
电话0317-7777829
地址995831774@qq.com
发布时间2024-03-25 08:30:02 人气
一、概述:
此产品一体化铸造机身,不变形不位移,砝码加载结构,性能稳定,测量精度高,重复性好。显示界面采用了菜单式结构,精度位移传感器,5.1吋LCD屏显示,12种洛氏硬度标尺的选择,多种硬度换算功能,硬度测试结果打印输出,具有良好的可操作性和直观性,结构坚固,刚性好、准确、经用、安装调试简单。
二、主要功能:
1.精度位移感器,
2. 5.1吋LCD屏显示,菜单式结构,
3.12种洛氏硬度标尺的选择,可选配塑料配件测塑料硬度,
4.多种硬度换算功能,
5.硬度测试结果打印输出,
6.具有良好的可操作性和直观性
7.结构坚固,刚性好 、准确、经用。
三、应用范围:
测定黑色金属、有色金属等洛氏硬度,淬火钢,调质、退火钢,冷硬铸件,可锻铸件,铝合金,铜,轴承钢等。
四、技术数据:
初试验力 | 10kgf(98.07N) |
试验力 | 60kgf(588N) 100kgf(980.N) 150kgf(1471N) |
洛氏标尺 | HRA、HRB、HRC、HRD、HREW、HRFW、HRGW、HRHW、HRKW、HRL、HRM、HRR |
换算标尺 | HRA、HRB、HRC、HRD、HRF、HV、HK、HBW、HR15N、HR30N、HR45N、HR15T、HR30T、HR45T |
压头规格 | 金刚石圆锥洛氏压头,φ1.5875mm钢球压头 |
测试范围 | HRA:20-95、HRBW:10-100、HRC:20-70、HRD:40-77、HREW:70-100、HRFW:60-100、HRGW:30-94、HRHW:80-100、HRKW:40-100、HRL:50-115、HRM:50-115、HRR:50-115 |
硬度分辨率 | 0.1HR |
保荷时间 | 2 ~60S |
显示方式 | 液晶屏显示 |
试件*大高度 | 190mm |
压头到内壁 | 165mm |
外形尺寸(mm) | 520X240X700mm |
主机重量 | 约80Kg |
电源 | AC220V + 5%, 50~60 Hz |
执行标准 | 精度符合GB/T230.2、GB/T230.2、ISO6508-2、ASTM E18、JJG112检定规程 |
数据输出 | 打印机 |
选配 | 塑料标尺:塑料标尺硬度块及相关压头(直径Φ3.175,Φ6.35,Φ12.7) |
五、洛氏试验原理:
试验开始时,试验机压头放在试件上,施加初试验力,并建立一由位移传测量装置测出的基准点。因为初试验力使压头压入试件,所以表面的光洁或不规则不会影响试验。接着试验机施加主试验力,这一较大的力,进入试样更深,然后卸除主试验力,同时保持初试验力,此时,试验机测量相对于既定的基准点的凹痕深度。凹痕的直线深度是洛氏硬度数值的基础。凹痕深度浅只表示材料硬度较高,凹痕深度相对深,则表示材料硬度较软。

硬度计测量原理图
HRC.A=100-n1-n0 0.002
HRB=130-n1-n0 0.002
式中:n0 — 在初试验力F0作用下,压头压入试样的深度
n1 — 在以施加总试验力F,并卸除主试验力F1,但仍保持初试验力F0时压头压入试件的深度。
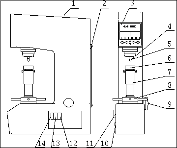
六、硬度计主机外形:

1.上盖 | 2.后盖 | 3.显示屏 | 4.压头止紧螺钉 | 5.压头 |
6.试台 | 7.螺杆 | 8.旋轮 | 9.手轮 | |
11.打印机 | 12.电源插座 | 13.保险丝 | 14.开关 |
七、硬度计符合标准:
GB/T 230.1-2018 金属材料 洛氏硬度试验 第1部分 试验方法
GB/T 230.2-2012 《金属材料 洛氏硬度试验 第2部分:硬度计的检验与校准》国家标准
JJG 112-2013_金属洛氏硬度计(A,B,C,D,E,F,G,H,K,N,∕T标尺)检定规程
ASTM E18-2015金属材料洛氏硬度试验方法标准
ASTM标准-金属试验方法及分析程序
八、标准配置:
名称 | 数量 | 名称 | 数量 |
金刚石洛氏压头 | 1只 | φ1.5875mm球压头 | 1只 |
保险丝 2A | 2根 | 标准洛氏硬度块 | 共3块 |
砝码A、B、C | 共3只 | 大、中、 V型试台 | 各1只 |
防尘塑料罩 | 1只 | 产品合格证 | 1份 |
产品使用说明书 | 1本 | 电源线 | 1根 |
九、点击附件下载产品说明书:
相关推荐