

全国免费客服电话 0317-7777829 邮箱995831774@qq.com
手机13303377029
电话0317-7777829
地址995831774@qq.com
发布时间2022-12-21 08:30:02 人气
示波器是利用电子示波管的特性,将人眼无法直接观测的交变电信号转换成图像,显示在荧光屏上以便测量的电子测量仪器。它是观察数字电路实验现象、分析实验中的问题、测量实验结果必不可少的重要仪器。示波器由示波管和电源系统、同步系统、X轴偏转系统、Y轴偏转系统、延迟扫描系统、标准信号源组成。
1、示波管
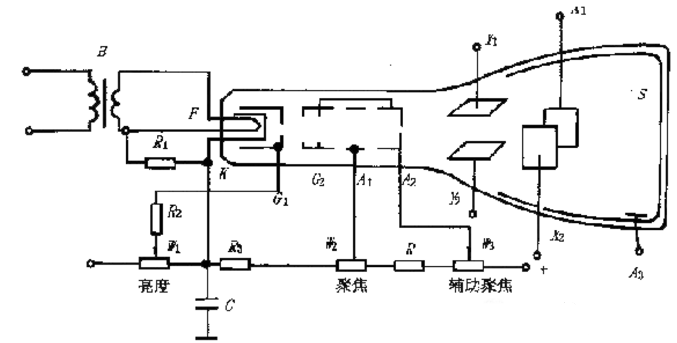
阴极射线管(CRT)简称示波管,是示波器的核心。它将电信号转换为光信号。正如图1所示,电子枪、偏转系统和荧光屏三部分密封在一个真空玻璃壳内,构成了一个完整的示波管。

图1 示波管的内部结构和供电图示
(1)荧光屏
现在的示波管屏面通常是矩形平面,内表面沉积一层磷光材料构成荧光膜。在荧光膜上常又增加一层蒸发铝膜。高速电子穿过铝膜,撞击荧光粉而发光形成亮点。铝膜具有内反射作用,有利于提高亮点的辉度。铝膜还有散热等其他作用。
当电子停止轰击后,亮点不能立即消失而要保留一段时间。亮点辉度下降到原始值的10%所经过的时间叫做“余辉时间”。余辉时间短于10μs为极短余辉,10μs—1ms为短余辉,1ms—0.1s为中余辉,0.1s-1s为长余辉,大于1s为极长余辉。一般的示波器配备中余辉示波管,高频示波器选用短余辉,低频示波器选用长余辉。
由于所用磷光材料不同,荧光屏上能发出不同颜色的光。一般示波器多采用发绿光的示波管,以保护人的眼睛。
(2)电子枪及聚焦
电子枪由灯丝(F)、阴极(K)、栅极(G1)、前加速极(G2)(或称第二栅极)、*阳极(A1)和第二阳极(A2)组成。它的作用是发射电子并形成很细的高速电子束。灯丝通电加热阴极,阴极受热发射电子。
栅极是一个顶部有小孔的金属园筒,套在阴极外面。由于栅极电位比阴极低,对阴极发射的电子起控制作用,一般只有运动初速度大的少量电子,在阳极电压的作用下能穿过栅极小孔,奔向荧光屏。初速度小的电子仍返回阴极。
如果栅极电位过低,则全部电子返回阴极,即管子截止。调节电路中的W1电位器,可以改变栅极电位,控制射向荧光屏的电子流密度,从而达到调节亮点的辉度。*阳极、第二阳极和前加速极都是与阴极在同一条轴线上的三个金属圆筒。前加速极G2与A2相连,所加电位比A1高。G2的正电位对阴极电子奔向荧光屏起加速作用。
电子束从阴极奔向荧光屏的过程中,经过两次聚焦过程。*次聚焦由K、G1、G2完成,K、K、G1、G2叫做示波管的*电子透镜。第二次聚焦发生在G2、A1、A2区域,调节第二阳极A2的电位,能使电子束正好会聚于荧光屏上的一点,这是第二次聚焦。A1上的电压叫做聚焦电压,A1又被叫做聚焦极。有时调节A1电压仍不能满足良好聚焦,需微调第二阳极A2的电压,A2又叫做辅助聚焦极。
(3)偏转系统
偏转系统控制电子射线方向,使荧光屏上的光点随外加信号的变化描绘出被测信号的波形。图8.1中,Y1、Y2和Xl、X2两对互相垂直的偏转板组成偏转系统。Y轴偏转板在前,X轴偏转板在后,因此Y轴灵敏度高(被测信号经处理后加到Y轴)。两对偏转板分别加上电压,使两对偏转板间各自形成电场,分别控制电子束在垂直方向和水平方向偏转。
2、示波管的电源
为使示波管正常工作,对电源供给有一定要求。规定第二阳极与偏转板之间电位相近,偏转板的平均电位为零或接近为零。阴极必须工作在负电位上。栅极G1相对阴极为负电位(—30V~—100V),而且可调,以实现辉度调节。*阳极为正电位(约+100V~+600V),也应可调,用作聚焦调节。
第二阳极与前加速极相连,对阴极为正高压(约+1000V),相对于地电位的可调范围为±50V。由于示波管各电极电流很小,可以用公共高压经电阻分压器供电。
相关推荐